European Case Law Identifier: ECLI:AT:OGH0002:2017:0040OB00141.16P.0221.000
Spruch:
Dem außerordentlichen Revisionsrekurs wird teilweise Folge gegeben.
Die Entscheidungen der Vorinstanzen werden dahin abgeändert, dass die einstweilige Verfügung des Rekursgerichts zu Punkt 1 (Unterlassung) bestätigt, jedoch hinsichtlich Punkt 2 (Beseitigung) der insoweit abweisende Beschluss des Erstgerichts wiederhergestellt wird.
Die Klägerin ist schuldig, der Beklagten binnen 14 Tagen den mit 6.001,27 EUR (darin 369,10 EUR USt und 3.787 EUR Barauslagen) bestimmten Anteil ihrer Kosten des Sicherungsverfahrens aller drei Instanzen zu ersetzen.
Begründung:
Die Klägerin ist Inhaberin des europäischen Patents EP 2 319 556 (österreichisches Patent AT E 608 214) mit dem Titel „Needle tip guard for hypodermic needles“ (Deutsch: „Nadelspitzenschutz für Subkutaninjektionen“). Das Patent wurde am 27. 2. 1997 unter der Inanspruchnahme der Prioritäten der Patente US 60/012,343P vom 27. 2. 1996 (= P 1), US 60/025,273P vom 19. 9. 1996 (= P 2) und US 60/031,399P vom 19. 11. 1996 (= P 3) angemeldet; erteilt wurde das Klagspatent am 24. 4. 2013. Gegenstand des Patents sind allgemein Schutzvorrichtungen für die Nadelspitzen von Subkutannadeln.
Die Ansprüche lauten:
1. Nadelschutzanordnung umfassend:
a) einen Katheteransatz (13);
b) einen Nadelansatz (9, 12, 112) mit einer daran fixierten Nadel (10) mit einem spitzen distalen Ende (11);
c) einen Nadelschutz (22, 22a, 220), der verschiebbar auf der Nadel (10) angebracht ist;
d) wobei der Nadelschutz (22, 22a, 220) einen beweglichen Nadelfänger (41) umfasst, der in Richtung auf die Nadel (10) vorgespannt ist;
e) wobei sich der Nadelfänger (41) des Nadelschutzes (22, 22a, 220) über das spitze distale Ende (11) der Nadel (10) vorwärts bewegt und dadurch das spitze distale Ende (11) abgedeckt, wenn der Nadelschutz (22, 22a, 220) nach vorne in die Nähe des spitzen distalen Endes (11) der Nadel (10) gedrückt wird;
f) Begrenzungsmittel zum Begrenzen der Vorwärtsbewegung des Nadelschutzes (22, 22a, 220) längs der Nadel (10);
g) wobei die Nadelschutzanordnung ferner einen Kopplungsmechanismus umfasst, der eine mechanische Trennung der Nadelschutz-anordnung vom Katheteransatz (13) verhindert, bis das spitze distale Ende (11) sicher von dem Nadelfänger (41) abgedeckt ist, wobei der Kopplungsmechanismus einen Arm (45) mit einem proximalen Ende und einem distalen Ende umfasst, wobei das proximale Ende des Arms an dem beweglichen Nadelfänger (41) angebracht ist, wobei das distale Ende des Arms (45) einen Vorsprung (42) aufweist, der lösbar mit dem Katheteransatz (13) gehalten wird, dadurch gekennzeichnet, dass der Vorsprung (42) des distalen Endes des Arms (45) lösbar in einer Ausnehmung (32) des Katheteransatzes (13) gehalten wird;
h) und wobei das Begrenzungsmittel eine Anhängevorrichtung (24) umfasst.
2. Nadelschutzanordnung nach Anspruch 1, wobei
sich der Arm (45) nach innen bewegt, wenn sich der Nadelfänger (41) zum Abdecken des spitzen distalen Endes (11) nach innen bewegt, wobei die Bewegung des Arms (45) nach innen dazu führt, dass der distale Vorsprung (42) des Arms (45) vom Katheteransatz (13) gelöst wird, wodurch eine Trennung des Nadelschutzes (22, 22a, 220) und des Katheteransatzes (13) ermöglicht wird.
3. Nadelschutzanordnung nach einem der vorher-
gehenden Ansprüche, wobei der Nadelschutz (22, 22a, 220) vom Anwender manuell längs dem Schaft der Nadel (10) nach vorne gedrückt wird.
4. Nadelschutzanordnung nach einem der vorher-
gehenden Ansprüche, wobei der Nadelfänger (41) durch eine inhärent gebildete Vorspannung des Nadelfängers (41) nach innen und vor das spitze distale Ende (11) gedrückt wird.
5. Nadelschutzanordnung nach einem der vorher-
gehenden Ansprüche, die ferner ein elastisches Teil (19) umfasst, dass den Nadelfänger (41) in Richtung auf die Nadel (10) drückt.
6. Nadelschutzanordnung nach Anspruch 5,
wobei der Nadelfänger (41) einen Einführungsabschnitt (33) zur Positionierung des elastischen Teils (19) auf dem Nadelschutz (22, 22a, 220) in Kerben (60, 61) umfasst.
7. Nadelschutzanordnung nach Anspruch 5 oder 6,
wobei das elastische Teil (19) in einer ringförmigen Art und Weise einem Abschnitt des Nadelschutzes (22, 22a, 220) umgebend angeordnet ist.
8. Nadelschutzanordnung nach einem der vorher-
gehenden Ansprüche, wobei der Nadelfänger (41) schwenkbar an den Nadelschutz (22, 22a, 220) angebracht ist.
9. Nadelschutzanordnung nach Anspruch 8, wobei
der Nadelfänger (41) durch einen Gelenkabschnitt (40) schwenkbar an den Nadelschutz (22, 22a, 220) angebracht ist.
10. Nadelschutzanordnung nach einem der
vorhergehenden Ansprüche, wobei der Nadelfänger (41) mit dem Rest des Nadelschutzes (22, 22a, 220) integral ist.
11. Nadelschutzanordnung nach einem der
vorhergehenden Ansprüche, wobei der Nadelfänger (41) einen Arm umfasst, der sich parallel zur Nadel (10) erstreckt.
12. Nadelschutzanordnung nach Anspruch 11,
wobei der Arm an seinem proximalen Ende schwenkbar an den Nadelschutz (22, 22a, 220) angebracht ist.
Das Merkmal g) des Anspruchs 1 untergliedert sich in folgende Untermerkmale:
g1 wobei die Nadelschutzanordnung ferner einen
Kopplungsmechanismus umfasst, der eine mechanische Trennung der Nadelschutz-anordnung vom Katheteransatz (13) verhindert, bis das spitze distale Ende (11) sicher von dem Nadelfänger (41) abgedeckt ist,
g2 wobei der Kopplungsmechanismus einen Arm
(45) mit einem proximalen Ende und einem distalen Ende umfasst,
g3 wobei das distale Ende des Arms (45) einen
Vorsprung (42) aufweist, der lösbar mit dem Katheteransatz (13) gehalten wird,
g4 dadurch gekennzeichnet, dass der Vorsprung
(42) des distalen Endes des Arms (45) lösbar in einer Ausnehmung (32) des Katheteransatzes (13) gehalten wird.
Die Beklagte erhob gegen die Erteilung des Klagspatents beim Europäischen Patentamt (EPA) mit der Behauptung der fehlenden Rechtsbeständigkeit Einspruch, den die Einspruchsabteilung des EPA mit Entscheidung vom 9. 12. 2014 abwies; sie hielt das Klagspatent in der erteilten Fassung aufrecht. Inhaltlich wurde darin angeführt, dass die Prioritätsdokumente P 1 und P 2 nicht ident mit der beanspruchten Erfindung seien. In Bezug auf das Prioritätsdokument P 3 sei eine enge Auslegung des Begriffs „dieselbe Erfindung“ heranzuziehen. Die Patentschrift P 3 beziehe sich auf eine „innere Ausnehmung“ („inner recess“). Diese Definition ziehe sich durch das ganze Dokument, ohne dass eine allgemeinere Beschreibung der Ausnehmung angesprochen werde. Damit beziehe sich P 3 nicht auf die in Punkt g) des Anspruchs 1 des Klagspatents beschriebene Ausführung, in der lediglich von einer „Ausnehmung“ („recess“) die Rede sei.
Die Klägerin behauptet ein patentverletzendes Anbieten, Inverkehrbringen, den Gebrauch und die Einfuhr sowie den Besitz der Nadelschutzvorrichtungen durch die Beklagte und begehrt Unterlassung, Rechnungslegung, Beseitigung und Zahlung. Zur Sicherung des Unterlassungs- und Beseitigungsanspruchs beantragte sie die Erlassung der einstweiligen Verfügung,
1. Der beklagten Partei werde geboten, es ab sofort
zu unterlassen, Nadelschutzvorrichtungen, umfassend einen Katheteransatz, einen Nadelansatz mit einer daran fixierten Nadel mit einem spitzen distalen Ende, einen Nadelschutz, der verschiebbar auf der Nadel angebracht ist, wobei der Nadelschutz einen beweglichen Nadelfänger umfasst, der in Richtung auf die Nadel vorgespannt ist, wobei sich der Nadelfänger des Nadelschutzes über das spitze distale Ende der Nadel vorwärts bewegt und dadurch das spitze distale Ende abdeckt, wenn der Nadelschutz nach vorne in die Nähe des spitzen distalen Endes der Nadel gedrückt wird, Begrenzungsmittel zum Begrenzen der Vorwärtsbewegung des Nadelschutzes längs der Nadel, wobei die Nadelschutzanordnung ferner einen Kopplungsmechanismus umfasst, der eine mechanische Trennung der Nadelschutz-anordnung vom Katheteransatz verhindert, bis das spitze distale Ende sicher von dem Nadelfänger abgedeckt ist, wobei der Kopplungsmechanismus einen Arm mit einem proximalen Ende und einem distalen Ende umfasst, wobei das proximale Ende des Arms an dem beweglichen Nadelfänger angebracht ist, wobei das distale Ende des Arms einen Vorsprung aufweist, der lösbar mit dem Katheteransatz gehalten wird, wobei der Vorsprung des distalen Endes des Arms lösbar in einer Ausnehmung des Katheteransatzes gehalten wird und wobei das Begrenzungsmittel eine Anhängevorrichtung umfasst, in Österreich anzubieten, in Verkehr zu bringen oder zu gebrauchen oder zu den genannten Zwecken einzuführen oder zu besitzen.
2. Der beklagten Partei werde aufgetragen, die
unter Punkt 1. bezeichneten, seit dem 24. 5. 2013 im Besitz Dritter befindlichen Erzeugnisse zurückzurufen, indem diejenigen Dritten, denen durch die beklagte Partei oder mit deren Zustimmung Besitz an den Erzeugnissen eingeräumt wurde, unter Hinweis darauf, dass das Handelsgericht Wien mit diesem Beschluss eine Verletzung des Klagspatents erkannt hat, ernsthaft aufgefordert werden, die Erzeugnisse an die beklagte Partei zurückzugeben, und den Dritten für den Fall der Rückgabe der Erzeugnisse eine Rückzahlung des gegebenenfalls bereits gezahlten Kaufpreises sowie die Übernahme der Kosten der Rückgabe zugesagt wird.
Das Klagspatent sei rechtsbeständig, was auch die Entscheidung des EPA im Einspruchsverfahren zeige. Auch sei das Landgericht Düsseldorf in einem parallelen Verletzungsverfahren in Deutschland mit Urteil vom 16. 12. 2014 von der Rechtsbeständigkeit des Klagspatents ausgegangen. Der Eingriffsgegenstand der Beklagten weise Übereinstimmungen in den Merkmalen a), b), c), d), e), f), g) und h) des Anspruchs 1 des Klagspatents auf und verletze es daher.
Die Beklagte bestritt die Sicherungsbegehren und wandte ein, es liege keine Patentverletzung durch sie vor. Im Übrigen ergebe sich nach dem Aufgabe‑Lösungs‑Ansatz bei Betrachtung des vorveröffentlichten Standes der Technik, dass das Klagspatent nicht rechtsbeständig sei. Zudem mangle es aufgrund des US‑Patents 5,215,525 auch an der Neuheit. In Bezug auf den begehrten Rückruf ihrer Erzeugnisse brachte sie vor, dass in einem Provisorialverfahren kein unumkehrbarer Zustand geschaffen werden dürfe.
Das Erstgericht wies das Sicherungsbegehren mit der Begründung ab, dass zwar ein Eingriff in das Patent der Klägerin gegeben sei, dass jedoch die Nichtigkeit des Anspruchs 1 des Klagspatents bescheinigt habe werden können. Zum Zeitpunkt der Anmeldung des Klagspatents würde der Durchschnittsfachmann auf der Suche nach einer alternativen Anbindungsmöglichkeit für das distale Ende des Arms sowohl wegen seiner allgemeinen Fachkenntnis (das Verrasten in einer Ausnehmung sei eine gängige Befestigungsmethode, die der Fachmann kenne) als auch wegen der Offenbarung dieser konkreten Anbindungsmöglichkeit im Patent EP 0 747 083 A2 eine Ausnehmung am Katheteransatz vorsehen. Dabei ging es von folgendem bescheinigten Sachverhalt aus:
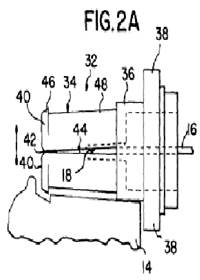
Im Zuge des Erteilungsverfahrens wurde das Kennzeichen des Anspruches insofern präzisiert, als nicht mehr der gesamte Kopplungsmechanismus(g) des Anspruchs 1 als kennzeichnender Teil ausgewiesen wurde, sondern nur mehr das Merkmal, wonach der Vorsprung (42) des distalen Endes des Arms (45) lösbar in einer Ausnehmung (32) des Katheteransatzes (13) gehalten wird. Zu Merkmalen d, e: Eine bevorzugte Ausführungsform der Erfindung im seitlichen Querschnitt ist in den Figuren 103 bis 105 der Patentschrift wie folgt dargestellt:
Dabei zeigt Fig. 103 eine Stellung, in welcher die Nadel (10) vollständig durch den Katheter (29) durchgeführt ist. In der Fig. 104 ist die Nadel aus dem Katheter (29) herausgezogen, die Nadelschutzanordnung (22a) aber noch mit dem Katheteransatz (13) verbunden. In Fig. 105 wird eine Stellung, in welcher die Nadelschutzanordnung (22a) vom Katheter (29) getrennt und die distale Spitze der Nadel (11) durch die Nadelschutzanordnung (22a) abgedeckt ist, dargestellt.
Das Ausführungsbeispiel
Das Ausführungsbeispiel
Zum Merkmal g4 enthält die Beschreibung Folgendes:
In der Vorveröffentlichung EP 04747083A2 (D2) ist eine Ausführung wiedergegeben, die eine Nadelschutzanordnung offenbart, bei der der Vorsprung des distalen Endes des Arms lösbar nicht in einer Ausnehmung des Kathederansatzes gehalten ist, sondern an einem vom Katheder abstehenden Flansch lösbar gehalten ist und zwar wie folgt:
Diese Flansch ist Bestandteil einer Luer Lock Verbindung, einem am Katheteransatz aussen angebrachten genormten Verbindungselement, mit welchem der Katheteransatz etwa mit Spritzen oder Infusionsbestecken unterschiedlicher Hersteller kombiniert werden kann. Dieser Flansch und keine zusätzlich vorhandene Ausnehmung – wie beim Klagspatent und auch beim Eingriffgegenstand – hält das distale Ende des Arms. Zu Merkmalen d, e: Das Produkt der Beklagten stellt sich in einer Phase während des Herausziehens der Nadel aus dem Katheder mit noch daran verriegelten Nadelschutz (22a) wie folgt dar:
Nach dem vollständigen Herausziehen der Nadel (10), wodurch der Nadelschutz (22a) mit dem Nadelfänger (41) das spitze Ende der Nadel (10) abdeckt bzw. fängt stellt sich das Produkt wie folgt dar:
Bild12
In dieser Position schlägt die Spitze (11) der Nadel (10) am Nadelfänger (41) an und kann nicht mehr darüber hinaustreten. In dieser Stellung wird die Nadelspitze (11) durch die am beweglichen Schenkel der Vorspannfeder (F) angebrachte Lasche abgedeckt.
Zu Merkmal g4: In der Eingriffsstellung, nämlich dem Eingreifen des Vorsprungs (42) in die Ausnehmung (32) des Kathederansatzes (13) hat das Produkt der Beklagten folgende Stellung:
Der Vorsprung des Arms wird in der Ausnehmung gehalten.
Das Rekursgericht erließ die beantragte Sicherungsverfügung, nachdem es das Verfahren zunächst bis zur Entscheidung der Beschwerdekammer des EPA unterbrochen hatte. Es erachtete im Zusammenhang mit der Entscheidung des EPA, welches die Beschwerde der Beklagten letztlich zurückwies, die Rechtsbeständigkeit des Klagspatents als bescheinigt, ohne sich näher mit dieser Rechtsfrage auseinanderzusetzen. Den Eingriff der Beklagten in das Patent der Klägerin bejahte das Rekursgericht mit folgender Begründung:
„Eine Verletzung des Schutzumfangs eines Patentanspruchs erfordert, dass alle Elemente des Patentanspruchs (identisch oder äquivalent) erfüllt werden. In Bezug auf den Anspruch 1 des Klagspatents wurde im erstinstanzlichen Verfahren von der Beklagten nicht näher bestritten, dass die Merkmale a), b), c), f), g1, g3 und h) bei der Ausführungsform/dem Ausführungsgegenstand der Beklagten verwirklicht sind. Bestritten waren die Verwirklichung der Merkmale d), e), g2 und g4, wobei im Rekursverfahren nur mehr die Merkmale g2 und g4 thematisiert wurden.
Zur Klarstellung ist für die Verwirklichung des Eingriffsgegenstands der Beklagten in Bezug auf die Merkmale d) und e) Folgendes in Erinnerung zu rufen: Das Merkmal d) ('wobei der Nadelschutz einen beweglichen Nadelfänger umfasst, der in Richtung auf die Nadel vorgespannt ist') ist verwirklicht, weil wie dem Klagspatent zu entnehmen ist, unter dem Nadelfänger nicht nur der Teil des Nadelschutzes zu verstehen ist, der unmittelbar die Nadelspitze
abdeckt (siehe z.B. [0132] iVm Figur 108: '..wobei der Nadelfänger (41) außerdem mindestens eine Kerbe oder Vertiefung (61) zum lösbaren Halten der Endwindungen des elastischen Teils (19) hat, …).“
Wie man an Figur 108 erkennt, befindet sich die am Nadelfänger angeordnete Kerbe (61) in einiger Entfernung von jenem Teil, der die Nadelspitze unmittelbar abdeckt. Somit ist unter dem Nadelfänger des Klagspatents nicht nur jener Teil zu verstehen, der die Nadelspitze unmittelbar abdeckt, was bedeutet, dass der Nadelfänger auch andere Teile umfassen kann, die mit der Abdeckung der Nadelspitze nicht unmittelbar zu tun haben. Bei der Ausführungsform des Gegenstands der Beklagten ist die „Lasche“ des einstückigen Metallfederteils jener Teil, der die Nadelspitze unmittelbar abdeckt. Die übrigen Bestandteile des Metallfederteils, insbesondere die Schenkel, welche die Vorspannfeder bilden, können gemäß obiger Erläuterung jedoch ebenfalls als Bestandteile des Nadelfängers angesehen werden. Um eine Abdeckung der Nadelspitze zu bewirken, muss sich der Nadelfänger (Lasche, Schenkel) zwangsläufig bewegen, ist also beweglich. Durch die Schenkel des einstückigen Metallfederteils (Schenkel sind ein Teil des Nadelfängers) wird eine Vorspannung erzeugt, durch welche sich die Lasche (Lasche ist ein Teil des Nadelfängers) vor die Nadelspitze bewegen kann. Da die Richtung in dem Ausdruck „in Richtung auf die Nadel vorgespannt“ nicht näher definiert ist und es beim Herausziehen der Nadel zu einer Annäherung der Schenkel in Richtung Nadel kommt, ist von einer Vorspannung in Richtung auf die Nadel auszugehen.
Das Merkmal e) („wobei sich der Nadelfänger des Nadelschutzes über das spitze distale Ende der Nadel vorwärts bewegt und dadurch das spitze distale Ende abdeckt, wenn der Nadelschutz nach vorne in die Nähe des spitzen distalen Endes der Nadel gedrückt wird“) definiert die Richtung der „Vorwärtsbewegung“ des Nadelfängers nicht. Ob die Vorwärtsbewegung nun normal zur Nadelachse geschieht oder parallel dazu ist daher unerheblich, solange sie zur Abdeckung des Nadelendes führt.
Da es bei der angegriffenen Ausführungsform zu einer Bewegung der Lasche (aufgrund einer Entspannung der Vorspannfeder-Schenkel) des einstückigen Metallfederteils über die Spitze der Nadel kommt, wenn der Nadelschutz nach vorne in die Nähe des spitzen distalen Endes der Nadel gedrückt wird (d.h. wenn die Nadel herausgezogen wird), ist auch das Merkmal e verwirklicht.
Zu Merkmal g2 („wobei der Kopplungsmechanismus einen Arm mit einem proximalen Ende und einem distalen Ende umfasst, wobei das proximale Ende des Arms an dem beweglichen Nadelfänger angebracht ist“) ist festzuhalten, dass der Arm des Klagspatents nicht näher definiert ist. Er kann somit gestreckt, gerade, abgewinkelt oder auch gebogen sein. Es wird lediglich verlangt, dass eines seiner Enden (in irgendeiner Form, also z.B. auch ohne erkennbare Trennung, d.h. einstückig) am Nadelfänger angebracht ist (und das andere Ende einen Vorsprung aufweist gemäß dem Merkmal g3).
Wie bereits zu Merkmal d) ausgeführt, können die Schenkel der Vorspannfeder als Teil des Nadelfängers angesehen werden. An einen dieser Schenkel schließt sich ein (abgewinkelter, lang gestreckter) Teil an, der an der am weitesten vom Schenkel entfernten Stelle einen Vorsprung aufweist, der lösbar mit dem Katheteransatz gehalten wird.
Somit ist Merkmal g2 (gemeinsam mit Merkmal g3) verwirklicht.
Die Auslegung des Begriffs „Ausnehmung“ im Merkmal g4 („dadurch gekennzeichnet, dass der Vorsprung des distalen Endes des Arms lösbar in einer Ausnehmung des Katheteransatzes gehalten wird.“) durch das Erstgericht ist nicht zu beanstanden. Es handelt sich hierbei um eine Vertiefung in einer Bezugsebene.
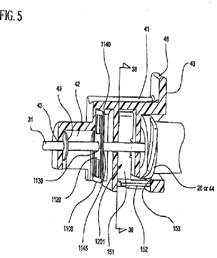
Wie in Figur 5 des Eingriffsgegenstands der Beklagten zu sehen ist,
gibt es im Katheteransatz eine Vertiefung in einer Bezugsebene (bezeichnet in der Figur 5 als [32]), wobei die dem Nadelschutz benachbart gelegene Wand der Vertiefung beinahe senkrecht (=W1) und die gegenüberliegende Wand abgeschrägt ist (=W2).
Gemäß dem Streitpatent ist es der Zweck der Ausnehmung (32), den Vorsprung des distalen Endes des Arms des Kopplungsmechanismus derart zu halten, dass eine mechanische Trennung der Nadelschutzanordnung vom Katheteransatz verhindert wird. Es wird keine andere Funktion in der Offenbarung des Streitpatents – auch nicht in den Figuren oder Zeichnungen – angesprochen. Im Umkehrschluss bedeutet das allerdings auch, dass eine darüber hinausgehende Offenbarung nicht notwendig ist (vgl Haedicke, Patentrecht² 78). Diese (Schutz)Funktion wird in der angegriffenen Ausführungsform durch die Vertiefung im Katheteransatz (siehe Figur 5 oben = [32]) und den Vorsprung des Arms des einstückigen Metallfederteils (42) erfüllt. Somit ist der Einwand der Beklagten, die Ausnehmung (32) ihres Produkts habe in axialer Richtung an ihrem Grund eine Länge, die dort das Zwölffache der Breite des Vorsprungs (42) betrage, und eine solche Ausnehmung habe keine beidseitige Haltefunktion wie das Klagspatent im Merkmal g4, auf Basis der Ergebnisse des Provisorialverfahrens nicht nachvollziehbar. Das Ausmaß der Länge der Vertiefung hat für sich keine gesonderte Funktion. Die Vertiefung im Eingriffsgegenstand (siehe Figur 5 oben) ist somit eine Ausnehmung laut Merkmal g4 im technischen Sinn.
Die Beklagte erhebt den „Formstein-Einwand“ (vgl näher Scharen in Benkard, Patentgesetz11 § 9 Rz 62 oder § 14 Rz 126 mwN; Timmann in Haedicke/Timmann, Handbuch des Patentrechts, § 6 Rz 183 f; Stauder in Singer/Stauder EPÜ6 Art 69 Rz 34) und macht geltend, dass ihr Produkt (die angegriffene Ausführungsform) dem freien Stand der Technik – genauer dem Dokument D 2 (EP 0 747 083) – entspricht. Abgesehen davon, dass der „Formstein-Einwand“ nur im (Ausnahme‑)Fall einer äquivalenten Verwirklichung (Patentverletzung) Berücksichtigung findet (die in der gegenständlichen Sache nicht vorliegt, weil sämtliche Merkmale des Hauptanspruchs des Klagspatents verwirklicht sind), ist bereits durch den Unterschied „Flansch“ (also Vorsprung in einer Bezugsebene) in D 2 versus „Ausnehmung“ (Vertiefung in einer Bezugsebene) im Klagspatent ein größerer Abstand der angegriffenen Ausführungsform zu D 2 als zum Klagspatent gegeben.
Im Ergebnis sind sämtliche anspruchsbegründende Merkmale des Klagspatents im Eingriffsgegenstand der Beklagten verwirklicht und ist daher der (unzulässige) Eingriff im Rahmen des Provisorialverfahrens zu bejahen.“
Punkt 2. der Sicherungsverfügung (Beseitigung) ließ das Rekursgericht zunächst unbegründet, holte diese jedoch in einem Berichtigungsbeschluss nach. Demnach liege kein Beseitigungsanspruch im Sinn der Entscheidung 17 Ob 12/09b vor, sondern eine Rückrufpflicht aus den Vertriebswegen (vgl Art 10 der Richtlinie 2004/48/EG zur Durchsetzung der Rechte des geistigen Eigentums [RechtsdurchsetzungsRL]), mit der die Beklagte nur ein zielgerichtetes und zielführendes Tätigwerden schulde, aber keinen Erfolg; dies gerade deshalb, weil es Erzeugnisse betreffe, über die die Beklagte keine Verfügungsmacht mehr habe. Diese in Punkt 2. der erlassenen einstweiligen Verfügung antragsgemäß formulierte Form der Rückrufung stehe noch im Einklang mit den §§ 148 Abs 1, 151b PatG und der – für die gemeinschaftsrechtskonforme Auslegung maßgeblichen – RechtsdurchsetzungsRL. Sie widerspreche auch nicht dem Rechtssatz, dass eine einstweilige Verfügung der endgültigen Entscheidung nicht vorgreifen und durch sie nicht das bewilligt werden dürfe, was die Klägerin erst seinerzeit auf Grund der Endentscheidung erzwingen könnte.
Das Rekursgericht sprach zudem aus, dass der Wert des Entscheidungsgegenstands 30.000 EUR übersteige und dass der Revisionsrekurs nicht zulässig sei.
Die Beklagte beantragt in ihrem – von der Klägerin nach Freistellung beantworteten – außerordentlichen Revisionsrekurs, den Sicherungsantrag abzuweisen. Sie macht geltend, der Zuspruch des Rückrufbegehrens würde einen unumkehrbaren Zustand schaffen; dies sei im Provisorialverfahren nicht zulässig. Was das Unterlassungsbegehren betreffe, so habe das Rekursgericht mit zweierlei Maß gemessen: Bei der Frage der Rechtsbeständigkeit des Klagspatents habe es diese nicht selbst geprüft, sondern sie aufgrund der einspruchsabweisenden Entscheidung der Beschwerdekammer des EPA für bescheinigt angesehen und somit deren einschränkende Interpretation (der Anspruchsmerkmale g2 und g4) seiner Entscheidung zugrunde gelegt. Zur Eingriffsfrage habe das Rekursgericht hingegen eine gegenteilige, weite Interpretation der Merkmale des Klagspatents (breite Auslegung der Merkmale g2 und g4) zugrunde gelegt. Dies sei ein logischer Widerspruch.
Rechtliche Beurteilung
Der Revisionsrekurs ist zulässig und teilweise berechtigt.
1. Zum Unterlassungsbegehren
1.1. Merkmal „Arm“
Beim Eingriffsgegenstand ist ein „Arm“ im Sinne der Entscheidung der EPA‑Beschwerdekammer bzw im Sinne des Merkmals g2 des Klagspatents eindeutig vorhanden.
Die Figuren sind mit Bezugszeichen entsprechend dem Streitpatent versehen. In der linken Figur sieht man die Anordnung von oben (Grundriss) mit teilweise weggeschnittenem Nadelschutz 22a, in der rechten Figur von vorne (Aufriss). Der strittige Arm ist mit dem Bezugszeichen 45 versehen. Der Nadelfänger 41 besteht aus einem Federarm F und einer daran befestigten Lasche. Der Vorsprung 42 des distalen Endes des Arms 45 wird lösbar in einer Ausnehmung 32 des Katheteransatzes 13 gehalten.
Ebenso klar geht der Arm aus dem Patent EP 1 292 355 B1 der Beklagten hervor, dort zB Fig 5‑7, 14, Bezugszeichen 152. Der Nadelfänger besteht aus dem Federarm 151 und der Lasche 296. Vgl auch folgende Figuren:
Der Arm ist ein langgestreckter Körper mit einem definierten und erkennbaren Anfang und einem ebensolchen Ende. Eine erkennbare Trennung von Arm und Nadelfänger ist ebenfalls gegeben, nämlich in Form der Abwinkelung zwischen Arm 152 und Nadelfänger 151, 296. Eine zweistückige Ausführung wird durch das Streitpatent nicht gefordert, in Fig 103–105 ist aufgrund der Schraffur eine einstückige Ausführung von Nadelfänger 41 und Arm 45 dargestellt. Beim Eingriffsgegenstand sind auch noch die weiteren Angaben von Merkmal g2 erfüllt, nämlich dass sich der Arm in distaler‑proximaler Richtung erstreckt, da er parallel zur Nadelachse verläuft, und dass er ein distales (benachbart dem Vorsprung 153) und ein proximales (benachbart dem Nadelfänger 151) Ende aufweist, wobei das proximale Ende des Arms 152 an dem beweglichen Nadelfänger 151 angebracht ist. Im Gegensatz dazu ist ein solcher Arm bei D1 und D3 nicht vorhanden.
1.2. „Zweierlei Maß“ in Bezug auf Merkmal g2 und D1 und D3
Dokument D1 (EP 747 085 A2)
Im Gegensatz zu der im Revisionsrekurs vertretenen Meinung weist die Nadelschutzvorrichtung von D1 keinen Arm im Sinne des Streitpatents auf. Beide Finger 34 – der obere und der untere – bilden den Nadelfänger 32 (tip guard) und keinen Arm, die Fortsätze 46 entsprechen dem Vorsprung (42) des Streitpatents. Um dem Streitpatent zu entsprechen, müsste zwischen diesen beiden Bauteilen ein sich in Längsrichtung der Nadelschutz-vorrichtung erstreckender Arm befinden. Ein solcher fehlt jedoch. Der Meinung, dass der in der farbigen Figur markierte Absatz ein Nadelfänger sei, wird nicht beigetreten.
Zum Schutzbereich von Anspruch 1 schließt sich der Senat der Auffassung der EPA‑Beschwerdekammer an, wonach ein langgestreckter Körper den Arm bilden muss, mit definiertem Anfang und Ende. Ein solcher Arm ist beim Eingriffsgegenstand vorhanden, in D1 jedoch nicht. Die Finger 32 übernehmen einerseits die Aufgabe des Nadelfängers, indem sie sich bei zurückgezogener Nadel im Punkt 42 aneinander legen (und nicht bei dem weiter innen liegenden Absatz), und sie tragen an ihren Enden die Vorsprünge 42. Ein dazwischenliegender Arm im Sinne des Streitpatents fehlt.
Dokument D3 (US 5215 525A)
Auch in D3 fehlt ein Arm im Sinne des Streitpatents, also ein sich in Längsrichtung der Vorrichtung erstreckender langgestreckter Körper. Der Nadelfänger ist jener Teil, der eine Verletzung an der Nadelspitze verhindert, er besteht in D3 aus den ineinandergreifenden Zähnen 212, 222. Teile des Nadelfängers – also dieser Zähne – als „Arm“ zu interpretieren, der an dem Nadelfänger sich in Längsrichtung erstreckend anschließt, ist eine künstliche Interpretation von D3. Wie bei D1 fehlt auch bei D3 das Merkmal des Arms im Sinne des Streitpatents.
Der von der Beklagten erhobene Formsteineinwand (Einwand des freien Stands der Technik) geht bezüglich D1 und D3 ins Leere, weil diese Dokumente, wie oben ausgeführt, den „Arm“ – wie er beim Eingriffsgegenstand im Sinne des Streitpatents verwirklicht ist – und somit auch den Eingriffsgegenstand im Sinne aller Merkmale von Anspruch 1 weder zeigen noch in irgendeiner Weise nahelegen.
1.3. Der Revisionsrekurs bemängelt weiters, dass sich die Rekursentscheidung auf eine falsche Sprachfassung des Klagspatents stütze. Dazu ist auszuführen:
Merkmal g4 lautet in der englischen und deutschen Fassung folgendermaßen:
g4) the projection (42) of the distal end of the arm (45) is releasably retained within a recess (32) of the catheter hub (13)
g4) der Vorsprung (42) des distalen Endes des Arms (45) lösbar in einer Ausnehmung (32) des Katheteransatzes (13) gehalten wird;
Mag zwar gemäß Art 70 Abs 1 und 3 EPÜ in Verbindung mit § 6 Abs 1 PatV‑EG stets die engere Fassung maßgeblich sein, so ist dem Argument, das Merkmal g4 in der deutschen Fassung sei weiter als in der englischen Fassung, dennoch nicht beizutreten. Beide Fassungen haben dieselbe Bedeutung dahin, dass der Vorsprung (42) in einer innerhalb der sonstigen äußeren Begrenzungsfläche des Katheteransatzes (13) liegenden Ausnehmung (32) lösbar gehalten wird. Dies geschieht beim Eingriffsgegenstand und beim Gegenstand von Anspruch 1 gleichermaßen dadurch, dass der in die Ausnehmung (32) ragende Vorsprung (42) mit seiner proximalen Seite gegen die Ausnehmung (32) anliegt und so gehalten wird.
An mehreren Stellen der Beschreibung heißt es, zB in Absatz [0179] zu Fig 103: Said catheter hub 13 having at least one flange 301 and an inner channel, recess, slot or undercut 32 for being releasably held by said movable arm 42.
Bei Betrachtung etwa von Fig 103 des Streitpatents erkennt man, dass der Vorsprung 42 nur proximal an der Ausnehmung 32 anliegt. Zum distalen Rand der Ausnehmung 32 besteht ein deutlicher Spalt. Die proximale Innenwand der Ausnehmung 32, welche W1 beim Eingriffsgegenstand entspricht, ist durch einen etwas schräg nach innen stehenden Flansch 301 gebildet, an dem sich das proximale Ende des Vorsprungs 42 abstützt. Die distale Innenwand der Ausnehmung ist genau in der selben Weise abgeschrägt wie die distale Innenwand W2 beim Eingriffsgegenstand, sodass dort eine Haltefunktion nicht möglich ist. Davon, dass das Streitpatent eine beidseitige Haltefunktion vorsieht, kann daher keine Rede sein. Dies geht weder aus der Formulierung des englischen Anspruchs noch aus den Figuren hervor.
Streitpatent Eingriffsgegenstand
Dass in Fig 103 der Vorsprung 42 einen größeren Teil der Ausnehmung 32 ausfüllt als beim Eingriffsgegenstand, ist unerheblich, da dieses Verhältnis weder in Anspruch 1 zum Ausdruck kommt noch für den Gegenstand von Anspruch 1 eine technische Bedeutung hat.
1.4. Zum Argument der fehlerhaften Berücksichtigung des Einwands des Arbeitens nach dem freien Stand der Technik gemäß Dokument D2 (EP 747 083 A2) ist auszuführen, dass die Stelle, in die der Vorsprung 42 am Katheteransatz 13 eintaucht, als Ausnehmung 32 zu qualifizieren ist. Denn insgesamt hat der Katheteransatz in diesem Bereich eine zylindrische Form, und die Stelle, in die der Vorsprung 42 eintaucht, nimmt sich als Vertiefung 32 infolge einer Wegnahme von Material aus, die an einem Teil des Umfangs der zylindrischen Form eingebracht ist.
Katheteransatz von vorne (Aufriss) mit Ausnehmung für den lösbaren Eingriff des Vorsprungs
Im Gegensatz dazu weist der Stand der Technik D2 keine Ausnehmung im Katheteransatz auf. Der Arm in D2 ist direkt am Flansch gehalten, der einen Teil eines Luer Locks bildet. Eine eigene Ausnehmung im Katheteransatz wird in D2 nicht benötigt.
Prinzipskizze des Eingriffs- Prinzipskizze entsprechend
gegenstands zu g4 D2 zu Merkmal g4
In der linken Figur ist die Anordnung der Ausnehmung 32 im Katheteransatz 13 des Eingriffsgegenstands dargestellt. Diese Anordnung im zylindrischen Teil des Katheteransatzes 13 geht etwa aus dem obigen Foto hervor, aber auch aus dem Vergleich von Grundrissfoto und Aufrissfoto des Eingriffsgegenstands (siehe bei der Wiedergabe der Provisorialfeststellungen des Erstgerichts). Während man im Grundriss die über den zylindrischen Körper des Katheters 13 stehenden „Ohren“ gut erkennt, hat der Katheteransatz im Aufriss auf beiden Seiten der Ausnehmung denselben Durchmesser. Während sich der Revisionsrekurs auf die behauptete Forderung von Merkmal g4 stützt, wonach die Ausnehmung eine beidseitige Haltefunktion haben müsse, die – wie oben dargestellt – vom Streitpatent gar nicht gefordert wird, lässt er unkommentiert, dass Dokument D2 die tatsächliche Forderung des Merkmals g4, dass eine Ausnehmung im Katheteransatz vorgesehen ist, nicht aufweist. Der Eingriffsgegenstand liegt daher, was Merkmal g4 anbelangt, dem Streitpatent näher als dem Stand der Technik D2, wie bereits vom Erstgericht zutreffend festgehalten.
Es liegt auch keineswegs nahe, aus D2 den Eingriffsgegenstand abzuleiten, da nicht nachvollziehbar ist, was den Fachmann dazu veranlassen sollte, die Haltefunktion des Flansches aufzugeben und durch eine Vertiefung im Katheteransatz zu ersetzen. Somit greift der Formsteineinwand auch bezüglich des Dokuments D2 nicht.
1.5. Messen mit „zweierlei Maß“ in Bezug auf das Merkmal g4
Wie oben gezeigt, realisiert der Eingriffsgegenstand das vorliegende Merkmal g4 vollständig: Der Vorsprung 42 wird in einer Ausnehmung (32) des Katheteransatzes (13) lösbar gehalten. Demgegenüber wird dieses Merkmal, bei genau gleicher Interpretation, von D2 nicht gezeigt, da die Ausnehmung fehlt, und von D1 und D3 nicht gezeigt, da der Arm fehlt. Dieselbe Interpretation von Merkmal g4 führt also dazu, dass der Eingriffsgegenstand dieses Merkmal realisiert, D1–D3 dieses Merkmal dagegen weder zeigen noch nahelegen.
Zusammenfassend hat daher das Rekursgericht den Eingriff der Beklagten in das rechtsbeständige Patent der Klägerin zu Recht als bescheinigt erachtet.
2. Zum Beseitigungsanspruch
2.1. Beim Anspruch auf Rückruf der Eingriffsgegenstände handelt es sich um einen Unterfall des Beseitigungsanspruchs (vgl 17 Ob 12/09b, Transdermal-Pflaster).
Nach dieser Entscheidung darf eine Beseitigung nur aufgetragen werden, wenn die Beseitigung des gesetzwidrigen Zustands auch tatsächlich in der Verfügungsmacht des Verletzers liegt. Ist die Ware übergeben und der Kaufpreis bezahlt, dann ist der Verkäufer regelmäßig nicht befugt, noch über die Ware zu verfügen.
In einem weiteren Fall, in dem sich der Oberste Gerichtshof mit einem patentrechtlichen Rückrufbegehren auseinandersetzte (4 Ob 214/12t, Schischaufel), betraf die Verfügung den Rückruf solcher Gegenstände, die (noch) in der Verfügungsmacht der Antragsgegnerin standen.
2.2. Gemäß § 151b Abs 3 PatG können zur Sicherung von Unterlassungs- und Beseitigungsansprüchen einstweilige Verfügungen – auch ohne Gefahren-bescheinigung – erlassen werden.
Allgemein gilt, dass im Sicherungsverfahren keine nicht mehr rückführbare Situation geschaffen werden darf (RIS‑Justiz RS0009418 [T5]; RS0005696). Daher kann beispielsweise das Gebot, eine bestimmte Firma oder eine bestimmte Bezeichnung einer politischen Gruppierung nicht zu verwenden, nicht durch einstweilige Verfügung gesichert werden (vgl jüngst 4 Ob 219/15g, Salzburger Landtagsklub).
2.3. Im vorliegenden Fall hat das Rekursgericht die Beklagte (bloß) dazu verhalten, ihre Abnehmer „ernsthaft aufzufordern“, die Erzeugnisse an sie zurückzugeben und ihnen für den Fall der Rückgabe den Kaufpreis und die Rückgabekosten zu erstatten. Die fehlende rechtliche Verfügungsmacht an den Eingriffsgegenständen führt daher hier nicht zur Verneinung des Anspruchs an sich, weil eine „ernsthafte Aufforderung“ keine Verfügungsmacht voraussetzt (vgl Grabinski/Zülch in Benkard, dPatentgesetz11 § 140a Rz 17, 19; Mes in Mes, dPatentgesetz/Gebrauchsmustergesetz4 § 140a Rz 19; Jestaedt, Die Ansprüche auf Rückruf und Entfernen schutzrechtsverletzender Gegenstände aus den Vertriebswegen, GRUR 2009, 102 [104], je mwN). Dennoch ist das gegenständliche Begehren auf Rückruf der Eingriffsgegenstände im Provisorialverfahren aus folgenden Gründen unzulässig:
Die Bestimmungen des § 148 PatG (Beseitigungsanspruch) und des § 151b PatG (Einstweilige Verfügungen) sind richtlinienkonform (vgl RIS‑Justiz RS0075866) im Sinne der Richtlinie 2004/48/EG zur Durchsetzung der Rechte des geistigen Eigentums (DurchsetzungsRL) zu interpretieren. Der Rückruf der Waren aus den Vertriebswegen ist im Abschnitt 5 dieser RL über Maßnahmen aufgrund einer Sachentscheidung (Art 10) vorgesehen, nicht aber im Abschnitt 4 (Art 9) über Einstweilige Maßnahmen und Sicherungsmaßnahmen.
Abgesehen davon würde ein abgewickelter Rückruf einen nichtrückführbaren Zustand schaffen, zumal die Beklagte nach erfolgter Rückabwicklung keinen Anspruch gegen ihre Abnehmer auf den Abschluss neuer Verträge hätte und somit nach Aufhebung oder Ablauf der einstweiligen Verfügung Beeinträchtigungen (Verlust von Geschäfts-beziehungen) bleiben können, die nicht ohne weiteres in Geld ausgleichbar sind (vgl König in FS Griss[2011], Die Nichtrückführbarkeit einstweiliger Verfügungen, 389 [401 f]; gegen die Stattgabe von Rückrufsbegehren im Provisorialverfahren auch Grabinski/Zülch in Benkard, dPatentgesetz11 § 140a Rz 21; Kühnen, dPatentgesetz8 Rz 592).
2.4. Zusammenfassend erweist sich somit die Durchsetzung des Rückrufanspruchs im Wege der einstweiligen Verfügung als unzulässig.
3. Dem Revisionsrekurs ist daher teilweise Folge zu geben und der angefochtene Beschluss dahin abzuändern, dass die Entscheidung des Rekursgerichts im Hinblick auf das Unterlassungsbegehren zu bestätigen und im Hinblick auf das Beseitigungsbegehren die abweisende Entscheidung des Erstgerichts wiederherzustellen ist.
4. Die Kostenentscheidung gründet sich auf § 393 Abs 1 EO iVm §§ 43 Abs 1, 50 Abs 1 ZPO. Ausgehend von der Bewertung durch die Klägerin ist sie im Provisorialverfahren mit 5/6 ihrer Ansprüche durchgedrungen und hat daher der Beklagten 1/6 ihrer Kosten zu ersetzen und im Übrigen ihre Kosten vorläufig selbst zu tragen.
Lizenziert vom RIS (ris.bka.gv.at - CC BY 4.0 DEED)
